“复仇者联盟”即将迎来终极之战,为什么有些英雄我们却迟迟未见?——惠州商标注册,惠州注册商标,惠州商标,惠州专利申请,惠州专利,商标注册
2019-04-21 来自: 网络 浏览次数:900
《复仇者联盟4:终局之战》将于4月24日于中国内地首映,作为全世界首批看见这部电影的一批观众,想必漫威迷们早已按捺不住心中的激动,截止目前,票房预售已突破4亿,凌晨场更是场场爆满,网上的票价已经被炒到四五百元一张,可谓一票难求。

(图片来源于网络)
新一轮的”复仇大战“必将有众多英雄集结,可是为什么有些英雄我们却迟迟未在电影中看到他们的身影呢?
实际上,由漫威漫画创造出的英雄多达上千名,而不少英雄的版权早已不在漫威手中,例如复仇者联盟元老级人物金刚狼就属于20世纪福克斯电影公司。随着漫威IP的商业价值飞涨,在好莱坞“版权分割”制的框架下,各大娱乐集团围绕版权出让、授权、制作发行等交易博弈正趋激烈。

在之前上映的《复联3》中,蜘蛛侠正式成为复仇者联盟成员,和钢铁侠、美国队长组团迎战终极反派灭霸。在2016年上映的《美国队长3》中,蜘蛛侠完成了回归漫威宇宙的首秀。此前,作为漫威极受欢迎的超级英雄之一,蜘蛛侠已经离队十多年。
1999年,经营不善的漫威为求生存,以700万美元的价格将蜘蛛侠卖给了索尼。根据出售协议,索尼获得了蜘蛛侠及所有相关角色的电影拍摄版权,电影收入全归索尼所有。不过,附带条件是,索尼每5年要推出一部蜘蛛侠电影,否则版权自动归还漫威。
2015年,经过多番协商,漫威终于与索尼达成版权共享协议。根据新协议,漫威将负责制作蜘蛛侠系列电影,而索尼仍负责投资和发行,并获得影片的全部票房收益。2017年上映的《蜘蛛侠:英雄归来》带着强烈的漫威色彩,钢铁侠也在其中客串了一番,为蜘蛛侠复联中的出演埋下了伏笔。
蜘蛛侠的坎坷经历不过是漫威英雄的一个缩影。目前漫威电影出现的众多英雄中,包括钢铁侠、绿巨人、雷神、美国队长在内的很多角色都经历过版权或发行权交易。
在20世纪中后期,随着电子游戏以及互联网等新娱乐方式的崛起,美国漫画业的泡沫破灭,当时漫威虽然推出新角色以及英雄角色改编的电视剧、电影,但市场反馈并不理想,公司入不敷出。整个80年代至90年代,漫威陆续卖出了包括神奇四侠、X战警、超胆侠、绿巨人等经典角色改编权,比如X战警的改编权被卖给了二十世纪福克斯,蜘蛛侠的改编权经过一番官司以后最终卖给了索尼。2004年,派拉蒙影业也从漫威海量英雄IP中分羹,拿下10部影片的发行权。
2005 年Ike Perlmutter上任CEO,开始收回钢铁侠的Ip权,从那开始,绿巨人、雷神、黑寡妇等复仇者联盟的核心成员,都陆续回到了漫威的家庭当中。为了妥协,漫威于 2005 年与派拉蒙达成协议,由后者在未来8年发行漫威制作的10部电影。
2008年漫威以旗下四位漫画角色为抵押,赌下身家将《钢铁侠》搬上了银幕,这是首部由漫威主控的作品,全球票房达到了5.8亿。从这部影片开始,漫威电影宇宙计划(MCU,Marvel Cinematic Universe)正式启动,复仇者四大巨头的自传电影共享同一个世界观,每一部之间相互关联相互铺垫,从而勾勒出一个完整统一的电影宇宙,开启了复仇者联盟银幕集结的序幕。
随着超级英雄电影越来越受市场热捧,漫威的英雄IP价值陡升,财大气粗的迪士尼更是斥资1.15亿美元收回了派拉蒙影业的发行权。
但是,漫威的吸金效应同样被其他公司所重视。环球影业在返还绿巨人的拍摄版权后,仍将发行权牢牢握在手中。而诸如X战警、死侍、神奇四侠等英雄,则仍属于20世纪福克斯公司。相较于索尼的蜘蛛侠和环球的绿巨人,20世纪福克斯拥有X战警系列涉及人物众多,故事情节复杂,是漫威漫画的关键部分,20世纪福克斯对这一系列的开发也相当充分。在外界看来,这将是漫威很难收回的英雄角色。
但之前曾有消息称,迪士尼计划以524亿美元收购21世纪福克斯的部分资产,其中包括20世纪福克斯,若能成功实现收购,X战警等角色有望加入漫威电影宇宙。可该收购案目前还存在变数。有消息称,美国有线电视运营商康卡斯特考虑用600亿美元取代迪士尼524亿美元的收购计划,这也意味着漫威若想收回所有角色,并不是一件容易的事。
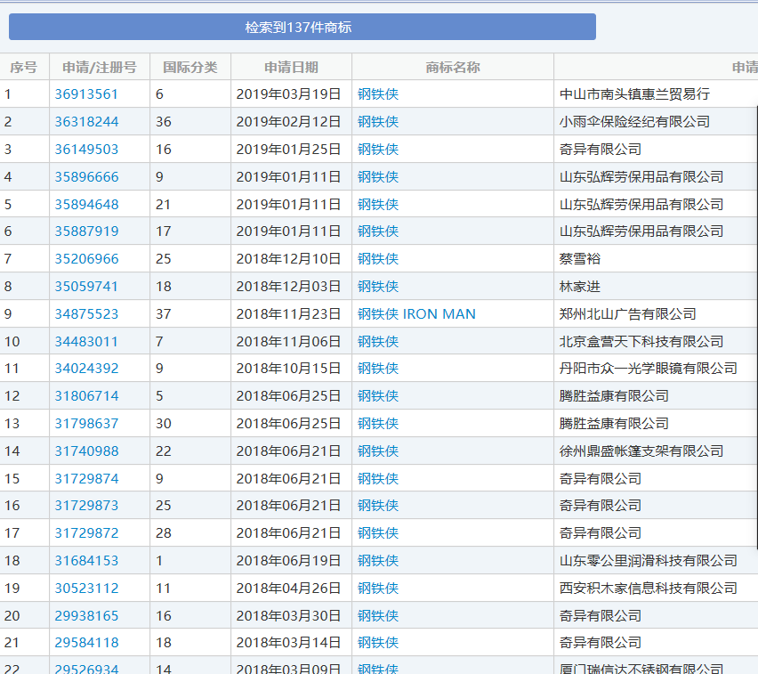
漫威的版权之路可谓艰难坎坷,其商标之路也未必一帆风顺。“复仇者联盟”,”钢铁侠“,“蜘蛛侠”等知名IP均出现商标被抢注的现象。

对于影视公司来说,一部电影成功以后其周边衍生品可以在相当长一段时间里为企业带来源源不断的收入,而商标作为商品销售的通行证,一旦被抢注势必会对其造成不小的影响,在电影票房大卖的同时想必这也是个让漫威很头疼的问题。
惠州商标注册,惠州注册商标,惠州专利申请,惠州申请专利,仲恺申请专利,水口申请专利,商标注册,专利申请,高新企业申请,中小企业项目申报,企业专利申请,公司商标注册。